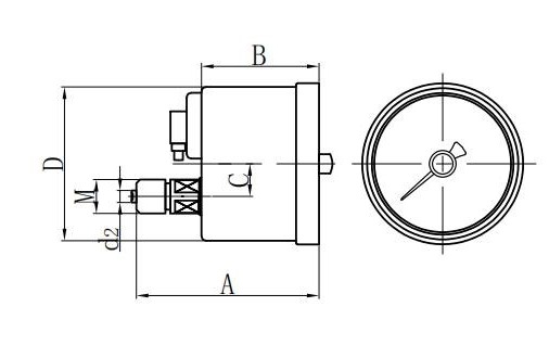
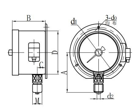
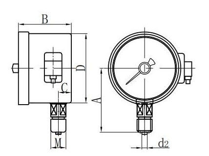
◆モデル: YXD100 YXD150
◆使用:この種の機器は電気接触圧力計の代わりになり、電気接触圧力計の利点は直感的で簡単に調整でき、機器は基本的な改善を行い、光電気センサーを使用して接触信号デバイスを形成して、積分式の回路を駆動する光電気式の延期を促進するための積分式の耐頼性を促進します。優れたスイッチング特性。石油、化学産業、冶金、原子力エネルギー技術、頻繁な切り替えプロセスで広く使用されています。
この機器は、爆発の危険、非結晶化、非統合、および銅および銅合金に対する非腐食効果のない液体、ガス、または蒸気の圧力の安定した信頼できる測定と制御に適しています。
◆ 衝撃防止型圧力計を作る必要がある場合は、グリセリンまたはシリコンオイルで満たすことができます。





















